Описание фермы 1ФПС12
Ферма (1ФПС12) применяется для устройства несущих конструкций покрытий зданий и сооружений, таких как промышленные цеха, склады, спортивные комплексы и другие объекты с большими пролётами. Изделие изготавливается компанией ГК "БЛОК", которая специализируется на производстве и поставке железобетонных изделий в Москве, из высокопрочного бетона класса В25 с армированием стальной арматурой, что обеспечивает её прочность, устойчивость к нагрузкам и долговечность.
Нормативный документ: ГОСТ 20213-89.
Применение фермы 1ФПС12
Ферма 1ФПС12 используется для создания надёжных и долговечных конструкций покрытий зданий с большими пролётами. Она служит важной частью системы, обеспечивающей равномерное распределение нагрузок, устойчивость и безопасность объектов. Для монтажа могут применяться дополнительные элементы: закладные детали, крепёжные материалы и другие комплектующие.
Типы ферм
Железобетонные фермы подразделяются на несколько типов в зависимости от назначения и конструкции:
- ФПС: ферма предварительно напряжённая стропильная;
- ФБС: ферма безраскосная стропильная;
- ФД: ферма доборная;
- ФУ: ферма усиленная.
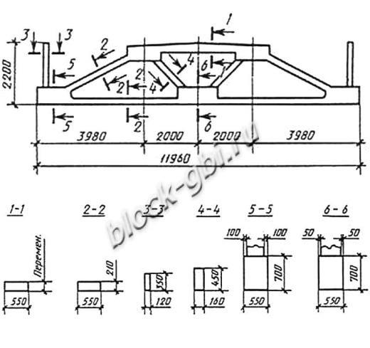
Размеры зависят от типа: длина 12000–24000 мм, ширина 3000–6000 мм, высота 550–1200 мм.
Основные параметры, размеры и характеристики
- Длина L, мм: 17940
- Ширина b, мм: 3000
- Высота h, мм: 550
- Масса, тонн: 11.30
- Объем бетона, м³: 4.5
- Класс бетона: B25 (марка М350)
Дополнительные характеристики
- Марка по морозостойкости: F200–F300
- Марка по водонепроницаемости: W6–W8
- Технология изготовления: вибропрессование или формование с использованием высокопрочного бетона.
Нормы загрузки
- Норма загрузки в автотранспорт 20 т, шт: 1
Расшифровка маркировки 1ФПС12
Маркировка "1ФПС12" содержит следующую информацию:
- 1 – порядковый номер изделия в серии;
- ФПС – ферма предварительно напряжённая стропильная;
- 12 – условная длина фермы в метрах (17940 мм).
Условия транспортировки и хранения
Фермы 1ФПС12 перевозятся автомобильным или железнодорожным транспортом с использованием специальных захватных устройств (строп). Хранение осуществляется на ровных площадках с твердым покрытием. Фермы устанавливаются горизонтально в штабель высотой не более 2,5 м. Для предотвращения повреждений между изделиями устанавливаются деревянные прокладки.
Контроль качества фермы 1ФПС12
Каждая ферма 1ФПС12 проходит многоступенчатый контроль качества. Проверяются:
- прочность бетона (не ниже класса B25);
- соответствие геометрических размеров проектным данным;
- морозостойкость и водонепроницаемость бетона;
- точность расположения закладных элементов (при наличии);
- отсутствие трещин, сколов и других дефектов.
Заключение
Ферма 1ФПС12 – это надежный и долговечный элемент для устройства несущих конструкций покрытий зданий с большими пролётами. Благодаря использованию качественных материалов и современных технологий производства, она обеспечивает прочность, устойчивость и долговечность конструкций. Для заказа качественных железобетонных изделий обращайтесь к профессионалам своего дела – компании ГК "БЛОК".
Смотрите также:
| Варианты написания товара | 
|---|
| Ферма 1ФПС12 | 
| 1ФПС12 ферма | 
| Ферма 1ФПС12 ГОСТ 20213-89 | 
| 1ФПС12 ГОСТ 20213-89 | 
| 1ФПС12 | 
| Ферма 1ФПС12 ГОСТ | 
| 1ФПС12 ГОСТ | 
| 
											ГОСТ/Серия
																					 | ГОСТ 20213-89 | 
| 
											Длина, мм
																					 | 17940 | 
| 
											Ширина, мм
																					 | 3000 | 
| 
											Высота, мм
																					 | 550 | 
| 
											Масса, тонн
																					 | 11.30 | 
| 
											Объем бетона, куб.м
																					 | 4.5 | 
| 
											Класс бетона
																					 | В25 | 
Как купить
Процесс покупки железобетонных изделий у нас прост и удобен. Следуйте этим шагам:
- Выбор продукции: Ознакомьтесь с нашим ассортиментом и выберите необходимые железобетонные изделия.
- Консультация: Свяжитесь с нашим менеджером для получения консультации по выбору продукции и уточнения всех деталей. Вы можете позвонить нам или написать на электронную почту.
- Оформление заказа: После согласования всех деталей оформите заказ. Менеджер поможет вам заполнить все необходимые документы.
- Согласование доставки: После оформления заказа наш менеджер свяжется с вами для согласования условий и сроков доставки.
- Оплата: Выберите удобный способ оплаты. Мы предлагаем несколько вариантов, включая безналичный расчет.
- Получение товара: После выполнения всех условий заказа, вы получите железобетонные изделия в назначенное время и по согласованному адресу. При получении подпишите акт приема-передачи.
Если у вас возникли вопросы на любом этапе покупки, не стесняйтесь обращаться к нашим менеджерам!
Оплата
Мы принимаем только безналичные платежи и работаем исключительно с юридическими лицами. Пожалуйста, ознакомьтесь с условиями оплаты ниже:
- Способ оплаты: Все расчеты производятся безналичным путем. Мы не принимаем наличные.
- Счет на оплату: После оформления заказа вам будет выставлен счет, который необходимо оплатить в срок, указанный в документе.
- Реквизиты: Все необходимые банковские реквизиты будут предоставлены в счете. Убедитесь, что все данные указаны правильно для успешного перевода.
- Подтверждение оплаты: После осуществления платежа отправьте нам подтверждение, чтобы мы могли оперативно обработать ваш заказ.
- Получение документов: После полной оплаты вы получите все необходимые документы, включая акт выполненных работ, товарные накладные и сертификаты на продукцию.
Мы работаем с НДС и предоставляем все необходимые сертификаты и документы. Все гарантии будут прописаны в договоре, что обеспечивает прозрачность и надежность сотрудничества.
Если у вас есть вопросы по поводу процесса оплаты, не стесняйтесь обращаться к нашим менеджерам за помощью!
Наша оперативность — ваше удобство. Мы гарантируем своевременную доставку железобетонных изделий, что является ключевым фактором для успешной реализации ваших строительных проектов. Доставка осуществляется прямо к вашему объекту с учетом всех стандартов качества.
    Основные условия доставки:
    • Выбор тарифа: Вы можете выбрать способ расчета стоимости доставки — почасовой или по зонам.
    • Согласование: Менеджер свяжется с вами для уточнения деталей после оформления заказа.
    • Время на погрузку: Комплектация товара занимает от 1 до 3 дней в зависимости от объема.
    • Акт приема-передачи: Продукция передается по акту приема-передачи.
    Тарифы на доставку:
    Цены варьируются в зависимости от расстояния и региона. Все тарифы включают НДС. При неблагоприятных погодных условиях возможны небольшие изменения в стоимости.
    География доставки:
    Мы работаем по всей территории РФ и имеем 12 офисов и производств, чтобы обеспечить удобные условия для доставки.
Для точного расчета стоимости доставки обращайтесь к нашим менеджерам!


 
						 
						 
							